Запасные части ЧТЗ Запасные части ЧТЗ
Норильск
Например:
Актобе
Алдан
или
Выбрать автоматически
Актобе
Алдан
Алматы
Алчевск
Архангельск
Астана
Астрахань
Атырау
Баку
Балашиха
Барнаул
Белгород
Бердянск
Бишкек
Владивосток
Владикавказ
Воркута
Воронеж
Горловка
Грозный
Донецк
Екатеринбург
Иваново
Ижевск
Иркутск
Казань
Калининград
Каменск-Уральский
Караганда
Каховка
Кемерово
Киров
Комсомольск-на-Амуре
Костанай
Краснодар
Красноярск
Красный луч
Ленск
Луганск
Магадан
Магнитогорск
Макеевка
Махачкала
Мелитополь
Минск
Мирный (Якутия)
Москва
Мурманск
Нерюнгри
Нижневартовск
Нижний Новгород
Нижний Тагил
Новая каховка
Новокузнецк
Новосибирск
Новый Уренгой
Норильск
Ноябрьск
Нур-Султан
Омск
Оренбург
Ош
Павлодар
Пермь
Петрозаводск
Петропавловск
Петропавловск-Камчатский
Псков
Ростов-на-Дону
Салехард
Самара
Санкт-Петербург
Саратов
Севастополь
Семей
Симферополь
Сочи
Ставрополь
Сургут
Сыктывкар
Тараз
Ташкент
Токмак
Томск
Тында
Тюмень
Ульяновск
Усинск
Усть-Каменогорск
Уфа
Хабаровск
Ханты-Мансийск
Херсон
Челябинск
Чита
Шымкент
Экибастуз
Энергодар
Южно-Сахалинск
Якутск
Ваш город
Норильск
Войти
Запасные части к тракторам на одном сайте
+7 (932) 303-00-10
+7 (932) 303-00-10
г. Норильск, ул. Ломоносова, д. 5
Пн-Пт: 9:30-18:30 Cб-Вс: Выходной
Отправить заявку


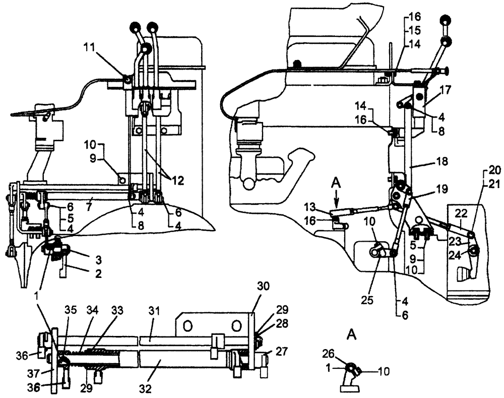
Управление дизелем с пусковым двигателем на Т10М / Б10М


/
с НДС 20%
Описание
Управление дизелем Т10М с пусковым двигателем
# Номер запчасти Наименование детали Кол-во в сборке
1 700-34-2014
-
Шпонка
Шпонка 3×6,5
3
2 51-74-2 Рычаг 1
3 51-74-10 Валик 1
4 - Шплинт 2,5×25.019 10
5 31308-1 Шайба 5
6 700-47-2045 Ось 8
7 51-74-130СП Мостик переходной 1
8 700-47-2075 Ось 2
9 - Шайба 10 ОТ 65Г 09 4
10 - Болт М10×30.58.019 7
11 51-74-142СП Тяга 1
12 51-74-131СП Тяга 2
13 16-74-185СП Тяга 1
14 - Болт М12х30.58.019 4
15 - Гайка М12.6.019 2
16 - Шайба 12 ОТ 65Г 09 5
17 51-74-208СП Блок управления 1
18 51-74-46 Тяга 1
19 51-74-133СП Тяга 1
20 17317 Палец 1
21 - Шплинт 3,2×25.019 1
22 50-12-237СП Тяга 1
23 21-74-1 Рычаг 1
24 - Шплинт 5×50 1
25 17-74-43 Рычаг 1
26 51-74-74 Рычаг 1
27 51-74-188СП Валик 1
28 - Шплинт 3,2×22.019 1
29 31484-01 Шайба 2
30 51-74-136СП Кронштейн 1
31 51-74-135СП Валик 1
32 51-74-137СП Валик 1
33 700-77-84-01 Сальник 2
34 38358 Пружина 1
35 - Шплинт 3,2×40.019 2
36 51-74-7 Рычаг 2
37 51-74-50 Кронштейн 1
Управление дизелем с пусковым двигателем